Ì«Ñô³É¼¯ÍÅ61999(Öйú)¡¤ÓÐÏÞ¹«Ë¾

Ì«Ñô³É¼¯ÍÅ61999(Öйú)¡¤ÓÐÏÞ¹«Ë¾-¹ÙÍø
EN

Ì«Ñô³É¼¯ÍÅ61999¹ÙÍø
ÇÅÁº¶¯Ì¬Ôغɼà²âϵͳ½â¾ö¼Æ»®
ÇÅÁº¶¯Ì¬Ôغɼà²âϵͳÊÇÖ£ÖÝÌ«Ñô³É¼¯ÍÅ61999(Öйú)¡¤ÓÐÏÞ¹«Ë¾¿Æ¼¼¹É·Ý¹«Ë¾×ÔÖ÷Ñз¢µÄ£¬£¬£¬£¬£¬£¬Õë¶ÔÇÅÁº¶¯Ì¬Ôغɼà²âµÄÏÖʵÐèÇ󣬣¬£¬£¬£¬£¬ÍŽá¸ß¾«¶È´«¸ÐÆ÷ºÍÏÈ ½øµÄÊý¾Ý´¦Öóͷ£ÊÖÒÕ£¬£¬£¬£¬£¬£¬Ó¦ÓÃÓÚ²î±ðÀàÐ͵ÄÇÅÁºÔغɼà²âµÄ×ÛºÏÐÔ½â¾ö¼Æ»®¡£¡£¡£¡£¡£¡£¡£¡£
ÏµÍ³ÌØµã

1. ¸ÅÊö

1.1 ÇÅÁºÔغɼà²âÒâÒå¸ÅÊö

½üÄêÀ´£¬£¬£¬£¬£¬£¬ÎÒ¹úÇÅÁº½¨ÉèͶ×ÊÒ»Á¬ÔöÌí£¬£¬£¬£¬£¬£¬¾Ý¡¶2022Ä꽻ͨÔËÊäÐÐÒµÉú³¤Í³¼Æ¹«±¨¡·£¬£¬£¬£¬£¬£¬2022ÄêβÌìϹ«Â·ÇÅÁº×ÜÊýµÖ´ï103.32Íò×ù£¬£¬£¬£¬£¬£¬Óë2021ÄêβÏà±È£¬£¬£¬£¬£¬£¬ÇÅÁºÊýÄ¿ÔöÌíÁË7.2Íò×ù¡£¡£¡£¡£¡£¡£¡£¡£ÆäÖУ¬£¬£¬£¬£¬£¬ÌØ´óÇÅÁºÓÐ8816×ù×ù£¬£¬£¬£¬£¬£¬´óÇÅÊýĿΪ15.96Íò×ù¡£¡£¡£¡£¡£¡£¡£¡ £¿£¿ £¿£¿£¿£¿£¿ÉÔ¤¼ûµÄËæ×Źú¼Ò¾­¼ÃµÄÒ»Á¬Éú³¤ºÍ½»Í¨»ù´¡ÉèÊ©½¨ÉèµÄÒ»Ö±ÍÆ½ø£¬£¬£¬£¬£¬£¬ÎÒ¹úÇÅÁº½¨ÉèÈÔ½«¼á³ÖÒ»Á¬ÔöÌíÌ¬ÊÆ¡£¡£¡£¡£¡£¡£¡£¡£

ÔÚ2020Äê12Ô½»Í¨ÔËÊ䲿Ðû²¼ÁË¡¶¹ØÓÚ½øÒ»²½ÌáÉý¹«Â·ÇÅÁºÇå¾²Ä;ÃˮƽµÄÒâ¼û¡·£¬£¬£¬£¬£¬£¬Òâ¼ûÖÐÃ÷È·ÒªÇóÒª×ÅÁ¦Ç¿»¯¹«Â·ÇÅÁºÇå¾²±£»£»£»£»£»¤£¬£¬£¬£¬£¬£¬ÑϿᳵÁ¾³¬ÏÞ³¬ÔØÖÎÀí¡£¡£¡£¡£¡£¡£¡£¡£ÉîÈëÍÆ½ø½»Í¨ÔËÊäºÍ¹«°²²¿·ÖÖÎÀí³µÁ¾³¬ÏÞ³¬ÔØÍŽáÖ´·¨¡£¡£¡£¡£¡£¡£¡£¡£¹æ·¶ÍêÉÆ¹«Â·ÇÅÁºÏÞÔØ±ê¼ÇÉèÖᣡ£¡£¡£¡£¡£¡£¡£ÔöÇ¿ÖØ µãÏß·¡¢ÇÅÁº³¬ÏÞ¼ì²âÕ¾µã²¼É裬£¬£¬£¬£¬£¬ÓÐÌõ¼þµÄµØÇø¿ÉÔÚÖ÷Òª½ÚµãλÖÃÉèÖþ߱¸Ò»Ö±³µ³ÆÖؼì²â¡¢ÊÓÆµ¼à¿ØºÍ×Ô¶¯×¥Åĵȹ¦Ð§µÄÊÖÒÕ¼à¿ØÉèÊ©£¨±¸£©£¬£¬£¬£¬£¬£¬Ç¿»¯Â·Ãæ¹Ü¿Ø¡£¡£¡£¡£¡£¡£¡£¡£Íƶ¯ÖØ µã»õÎï×°ÔØÔ´Í·µ¥Î»ÂäʵÕýµ±×°ÔØÖ÷ÌåÔðÈΣ¬£¬£¬£¬£¬£¬Ôڵط½Õþ¸®Í³Ò»Ö±µ¼Ï£¬£¬£¬£¬£¬£¬Ç¿»¯¶Ô»õÎï×°ÔØÔ´Í·µÄÐÐÒµî¿Ïµ¡£¡£¡£¡£¡£¡£¡£¡£

ÇÅÁºÔغɼà²âµÄÒâÒåÖØ´ó£¬£¬£¬£¬£¬£¬Ö÷ÒªÌåÏÖÔÚÒÔϼ¸¸ö·½Ã棺

¢Ù¡¡ÇÅÁºÔغɼà²âÄÜÖ±½Ó·´Ó¦ÇÅÁºÊÜÁ¦×´Ì¬£¬£¬£¬£¬£¬£¬Äܹ»ÊµÊ±»ò°´ÆÚ¼à²âÇÅÁºÔÚ²î±ðºÉÔØ×÷ÓÃϵÄÊÜÁ¦ÇéÐΣ¬£¬£¬£¬£¬£¬Ö±½Ó·´Ó¦ÇÅÁº½á¹¹ÔÚÔËÓªÀú³ÌÖеÄÇå¾²ÐÔ¡£¡£¡£¡£¡£¡£¡£¡£

¢Ú¡¡Í¨¹ý¼à²âÇÅÁºËùÔâÊܵĺÉÔØ£¬£¬£¬£¬£¬£¬¿ÉÒÔʵʱ·¢Ã÷²¢Ô¤·À³¬ÔسµÁ¾¶ÔÇÅÁº½á¹¹µÄË𺦣¬£¬£¬£¬£¬£¬½µµÍÒò³¬Ôص¼ÖµÄÇÅÁºÇ徲ʹÊΣº¦¡£¡£¡£¡£¡£¡£¡£¡£

¢Û¡¡Ôغɼà²âÊý¾Ý¿ÉÒÔ×÷ΪÇÅÁºÑø»¤ÓëάÐÞ¾öÒéµÄÖ÷ÒªÒÀ¾Ý£¬£¬£¬£¬£¬£¬×ÊÖúÖÆ¶©¿ÆÑ§ºÏÀíµÄÑø»¤ÍýÏëºÍάÐ޼ƻ®¡£¡£¡£¡£¡£¡£¡£¡£

¢Ü¡¡Ôغɼà²âϵͳÄܹ»ÊµÏÖʵʱ¼à¿ØºÍÔ¤¾¯¹¦Ð§£¬£¬£¬£¬£¬£¬Ò»µ©¼à²âµ½Òì³£Êý¾Ý£¬£¬£¬£¬£¬£¬Äܹ»Á¬Ã¦·¢³ö¾¯±¨£¬£¬£¬£¬£¬£¬ÌáÐÑÖÎÀíÖ°Ô±½ÓÄÉÏìÓ¦²½·¥¡£¡£¡£¡£¡£¡£¡£¡£

¢Ý¡¡Í¨¹ýÍøÂçºÍÆÊÎö´ó×ڵļà²âÊý¾Ý£¬£¬£¬£¬£¬£¬¿ÉÒÔ½¨ÉèÇÅÁº¿µ½¡µµ°¸£¬£¬£¬£¬£¬£¬ÎªÇÅÁºµÄºã¾ÃÖÎÀíºÍά»¤ÌṩÓÐÁ¦Ö§³Ö¡£¡£¡£¡£¡£¡£¡£¡£

1.2. ÇÅÁºÔغɼà²âϵͳ¸ÅÊö

ÇÅÁº¶¯Ì¬Ôغɼà²âϵͳÊÇÖ£ÖÝÌ«Ñô³É¼¯ÍÅ61999(Öйú)¡¤ÓÐÏÞ¹«Ë¾¿Æ¼¼¹É·Ý¹«Ë¾×ÔÖ÷Ñз¢µÄ£¬£¬£¬£¬£¬£¬Õë¶ÔÇÅÁº¶¯Ì¬Ôغɼà²âµÄÏÖʵÐèÇ󣬣¬£¬£¬£¬£¬ÍŽá¸ß¾«¶È´«¸ÐÆ÷ºÍÏÈ ½øµÄÊý¾Ý´¦Öóͷ£ÊÖÒÕ£¬£¬£¬£¬£¬£¬Ó¦ÓÃÓÚ²î±ðÀàÐ͵ÄÇÅÁºÔغɼà²âµÄ×ÛºÏÐÔ½â¾ö¼Æ»®¡£¡£¡£¡£¡£¡£¡£¡£

ÇÅÁº¶¯Ì¬Ôغɼà²âϵͳÖ÷ÒªÓÉÒÔϼ¸²¿·Ö×é³É£º

A. ´«¸ÐÆ÷×Óϵͳ£º

ÇÅÁº¶¯Ì¬Ôغɼà²âϵͳÖнÓÄɸ߾«¶ÈµÄʯӢ³ÆÖØ£¬£¬£¬£¬£¬£¬ÈÏÕæ²¶»ñÇÅÁºÔÚ³µÁ¾Í¨¹ýʱ±¬·¢µÄϸСÐαä»òÓ¦Á¦×ª±ä¡£¡£¡£¡£¡£¡£¡£¡£

B. Êý¾ÝÊÕÂÞÓë´¦Öóͷ£ÏµÍ³£º

Êý¾ÝÊÕÂÞÆ÷ÈÏÕæ´Ó´«¸ÐÆ÷ÎüÊÕԭʼÐźţ¬£¬£¬£¬£¬£¬ÔÚ¾­ÓÉÂ˲¨¡¢·Å´óºó£¬£¬£¬£¬£¬£¬Í¨¹ý¸ßËÙAD¾ÙÐÐÊý¾Ýת»»£¬£¬£¬£¬£¬£¬È»ºóÓÉ´¦Öóͷ£ÏµÍ³¾ÙÐÐÊý¾Ý´¦Öóͷ££¬£¬£¬£¬£¬£¬»ùÓÚËã·¨ÌáÈ¡³öÓë³µÁ¾Ö±½ÓÏà¹ØµÄÐÅÏ¢¡£¡£¡£¡£¡£¡£¡£¡£³µÁ¾Ïà¹ØÐÅÏ¢°üÀ¨³µµÀ±àºÅ¡¢×ÜÖØ¡¢³µÁ÷Á¿¡¢ÖáÊý¡¢Öá¾à¡¢µ¥ÂÖÖØÁ¿¡¢µ¥ÖáÖØÁ¿¡¢Ë«ÁªÖáÖØÁ¿¡¢ÈýÁªÖáÖØÁ¿¡¢³µËÙ¡¢³µÐÍ¡¢Æ«Ïò¡¢Ê±¼ä¡¢¿çµÀ±êʶµÈ¶à ά¶ÈÊý¾Ý¡£¡£¡£¡£¡£¡£¡£¡£

C. Êý¾Ý´«ÊäÓëͨѶϵͳ£º

Êý¾Ý´¦Öóͷ£ÏµÍ³Íê³ÉÆðÔ´µÄÊý¾Ý´¦Öóͷ££¬£¬£¬£¬£¬£¬ÕâЩÊý¾Ý¾ÍÐèҪͨ¹ýÒÔÌ«Íø´«Êäµ½Ô¶³ÌµÄÊý¾ÝÖÐÐÄ»ò¼à¿ØÖÐÐÄ¡£¡£¡£¡£¡£¡£¡£¡£²¿·Ö²»¾ß±¸ÒÔÌ«ÍøÍ¨Ñ¶Ìõ¼þµÄÓ¦Óó¡¾°£¬£¬£¬£¬£¬£¬¿ÉÒÔÖ±½Ó»ùÓÚ4G´«Êäµ½Êý¾ÝÖÐÐÄ¡£¡£¡£¡£¡£¡£¡£¡£

D. Êý¾ÝÆÊÎöÓë¼à¿ØÈí¼þ£º

ÔÚÊý¾ÝÖÐÐÄ»ò¼à¿ØÖÐÐÄ£¬£¬£¬£¬£¬£¬Êý¾ÝÆÊÎöÈí¼þ»á¶ÔÎüÊÕµ½µÄÊý¾Ý¾ÙÐнøÒ»²½µÄ´¦Öóͷ£ºÍÆÊÎö¡£¡£¡£¡£¡£¡£¡£¡£°üÀ¨³µÁ¾Ê¶±ð¡¢ÖØÁ¿ÅÌËã¡¢ÖáÊýͳ¼Æ¡¢³¬Ôؼì²âµÈ¹¦Ð§¡£¡£¡£¡£¡£¡£¡£¡£

¼à¿ØÈí¼þÔòÌṩÓû§½çÃæ£¬£¬£¬£¬£¬£¬Ê¹²Ù×÷Ö°Ô±Äܹ»ÊµÊ±Éó²éÇÅÁºµÄÔØºÉÇéÐΣ¬£¬£¬£¬£¬£¬²¢ÎüÊÕ³¬ÔØ»òÆäËûÒì³£ÇéÐεľ¯±¨¡£¡£¡£¡£¡£¡£¡£¡£


2. ÏµÍ³ÏêÊö

2.1. Ê¯Ó¢Ê½³ÆÖØ´«¸ÐÆ÷

ÔÚÇÅÁº¶¯Ì¬Ôغɼà²âϵͳÖУ¬£¬£¬£¬£¬£¬³ÆÖØ´«¸ÐÆ÷×÷Ϊ×îΪ½¹µãµÄÆ÷¼þ£¬£¬£¬£¬£¬£¬×îΪֱ½ÓµÄÓ°Ïì¸ÃϵͳµÄÏÖʵÔËÐÐЧ¹û£¬£¬£¬£¬£¬£¬Ì«Ñô³É¼¯ÍÅ61999(Öйú)¡¤ÓÐÏÞ¹«Ë¾¿Æ¼¼×ÔÖ÷Ñз¢µÄʯӢʽ³ÆÖØ´«¸ÐÆ÷£¬£¬£¬£¬£¬£¬¾ß±¸¸ßÐÔÄÜ¡¢Ò××°Öá¢Ãâά»¤µÈÖ±¹ÛÓÅÊÆ£¬£¬£¬£¬£¬£¬Äܹ»Ó¦ÓÃÓÚÇÅÁº¶¯Ì¬Ôغɼà²âµÄ³¡¾°ÖС£¡£¡£¡£¡£¡£¡£¡£

ÎÒ˾Ñз¢µÄʯӢ³ÆÖØ´«¸ÐÆ÷Äܹ»Ö±½ÓÔÚÁ¤ÇàÂ·ÃæÉϾÙÐÐ×°Ö㬣¬£¬£¬£¬£¬±ÈÕչŰåµÄʯӢ´«¸ÐÆ÷£¬£¬£¬£¬£¬£¬´ó´ó½µµÍÁ˶Ô×°ÖÃÂ·ÃæµÄÒªÇ󣬣¬£¬£¬£¬£¬Í¬Ê±±ÈÕÕÆäËûÀàÐ͵Ĵ«¸ÐÆ÷£¬£¬£¬£¬£¬£¬ÔÚ³ÆÖؾ«¶È¡¢¿É¿¿ÐÔ¡¢¿Éά»¤ÐԵȷ½Ãæ¾ß±¸ºÜ´óµÄÓÅÊÆ¡£¡£¡£¡£¡£¡£¡£¡£

ÎÒ˾Ñз¢µÄʯӢ³ÆÖØ´«¸ÐÆ÷Óëѹµç±¡Ä¤´«¸ÐÆ÷¡¢Íä°å´«¸ÐÆ÷±ÈÕÕµÄÓÅÊÆ£º

B1 

 


2.2. ÇÅÁºÔغɳÆÖØÖ÷»ú

  »ùÓÚÇÅÁºÔغɼà²â³¡¾°µÄ³ÆÖØÖ÷»ú£¬£¬£¬£¬£¬£¬½ÓÄɸ߼¯³É¶È+Ò»Ì廯µÄÉè¼ÆÀíÄ£¬£¬£¬£¬£¬Á¢ÒìÐԵĽ«µçºÉ·Å´óÆ÷¡¢ÏßȦ¿ØÖÆÆ÷¡¢³ÆÖØÖ÷»úµ¥Î»ÈÚºÏΪһÌ壬£¬£¬£¬£¬£¬ÓÐÓõĽâ¾öÁ˳ÆÖØÏµÍ³°²ÅÅÖØ´ó¡¢½ÓÏß·±ËöµÈÏà¹ØÎÊÌâ¡£¡£¡£¡£¡£¡£¡£¡£

»ùÓÚ³ÆÖØÖ÷»úÉϵÄ8.8´ç¸ßÇø·ÖÂÊ´¥ÃþÆÁ£¬£¬£¬£¬£¬£¬½«³ÆÖØÖ÷»úµÄ½»»¥ÐÔ½øÒ»²½ÌáÉý£¬£¬£¬£¬£¬£¬ÄÚÖô«¸ÐÆ÷״̬ÖÎÀí¡¢ÄÚÂëʵʱÏÔʾ¡¢ÏµÊý±ê¶¨µÈ¶àÖÖ¹¦Ð§Ó¦Ó㬣¬£¬£¬£¬£¬ÎªÏÖ³¡Ó¦ÓÃÌṩÍêÕûÐÔµÄÓ¦ÓÃÌåÑéºÍÓ¦ÓÃЧ¹û¡£¡£¡£¡£¡£¡£¡£¡£

ÇÅÁºÔغɳÆÖØÖ÷»ú¹¦Ð§ÈçÏ£º

1£®ÐźŴ¦Öóͷ£

ÇÅÁºÔغɳÆÖØÖ÷»úÄÚ²¿¼¯³ÉÐźŷŴóÆ÷£¬£¬£¬£¬£¬£¬¶Ô´«¸ÐÆ÷ÐźžÙÐÐÂ˲¨¡¢·Å´óµÈ²Ù×÷

2£®Êý¾ÝÊÕÂÞ

ÊÕÂÞ³ÆÖØ´«¸ÐÆ÷Ðźţ¬£¬£¬£¬£¬£¬¸ÐÖª³µÁ¾Í¨¹ýÇÅÁºÊ±µÄѹÁ¦ÇéÐΣ¬£¬£¬£¬£¬£¬×ª»¯ÎªÊý×ÖÐźÅ

3£®Êý¾Ý´¦Öóͷ£

½«Êý×ÖÐźŻùÓÚÌØ¶¨µÄËã·¨ºÍÄ£×Óת»»ÎªºÍ³µÁ¾Ïà¹ØÁªµÄÒªº¦Êý¾Ý

4£®ÖØÁ¿ÅÌË㣺

»ùÓÚ´¦Öóͷ£ºóµÄÊý¾Ý£¬£¬£¬£¬£¬£¬ÏµÍ³»áƾ֤ԤÉèµÄËã·¨ºÍÄ£×ÓÅÌËã³ö³µÁ¾µÄÖØÁ¿µÈÒªº¦ÐÅÏ¢

5£®Êý¾Ý¼Í¼

ϵͳ»á½«ÅÌËã»ñµÃµÄ³µÁ¾ÖØÁ¿Êý¾Ý¼Í¼ÏÂÀ´£¬£¬£¬£¬£¬£¬ÒÔ±ãºóÐøµÄÆÊÎöºÍͳ¼Æ

6£®Êý¾ÝÏÔʾ

ͨ¹ýÏÔʾÆÁ½çÃæ£¬£¬£¬£¬£¬£¬ÏµÍ³¿ÉÒÔʵʱÏÔʾ³µÁ¾µÄÖØÁ¿¡¢³µÁ÷Á¿µÈÏà¹ØÐÅÏ¢

7£®Êý¾ÝÉÏ´«

ͨ¹ýÒÔÌ«Íø/4G£¬£¬£¬£¬£¬£¬³ÆÖØÖ÷»ú½«Êý¾ÝʵʱÉÏ´«µ½Êý¾ÝÖÐÐÄ

 

ͼƬ1

2.3. ÇÅÁºÔغÉÓ¦ÓÃϵͳ

ÇÅÁºÔغɼà²âÓ¦ÓÃϵͳÖ÷Òª¹¦Ð§ÈçÏ£º

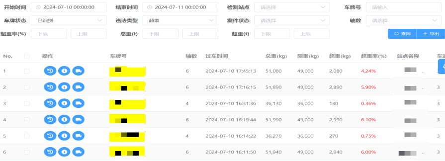
A. ÇÅÁººÉÔØ¼à²âϵͳʵʱÎüÊÕͨÐгµÁ¾µÄÖØÁ¿¡¢ÖáÊý¡¢Öá¾à¡¢³µÁ÷Á¿¡¢³µÐÍ¡¢³µËÙµÈÊý¾Ý£¬£¬£¬£¬£¬£¬×Ô¶¯½«Êý¾ÝÕû±à¡¢ÆÊÎö²¢ÌṩÿÔ¡¢Ã¿¼¾¡¢Ã¿ÄêµÄ½»Í¨ºÉÔØÁ÷Á¿±¨±í¡£¡£¡£¡£¡£¡£¡£¡£

        ͼƬ2 

B. ¼à²â³µÁ¾µÄºÉÔØ¼°³µÁ¾ÐÅÏ¢£¬£¬£¬£¬£¬£¬²¢ÊµÊ±Åбð³¬ÏÞ³µÁ¾£¬£¬£¬£¬£¬£¬Ö§³Ö×Ô¶¯¸æ¾¯¼°×Ô¶¯ÊÂÎñÐÅÏ¢¾¯Ê¾¹¦Ð§¡£¡£¡£¡£¡£¡£¡£¡£

            Í¼Æ¬3  

C. ¼à²â´óÇŽ»Í¨ºÉÔØ£¬£¬£¬£¬£¬£¬ÕÒ³öºÉÔØ×ª±äÓëÇÅÁºÕûÌå±äÐÎÓëÖ÷ÁºÄÓ¶Èת±äÖ®¼äµÄ¹ØÏµ£¬£¬£¬£¬£¬£¬Îª½¨Éè´óÇŽ»Í¨ºÉÔØÄ£×Ó¼°¾ÙÐÐÑø»¤ÊÂÇéÌṩÒÀ¾Ý¡£¡£¡£¡£¡£¡£¡£¡£

      Í¼Æ¬4 

D. »ùÓÚʵʱ¼à²âÇÅÁºµÄºÉÔØÇéÐΣ¬£¬£¬£¬£¬£¬²¢ÓëÉè¼ÆºÉÔØ»òÇå¾²ÏÞÖµ¾ÙÐнÏÁ¿¡£¡£¡£¡£¡£¡£¡£¡£Ò»µ©·¢Ã÷ÏÖʵºÉÔØÁè¼ÝÉè¼ÆºÉÔØ»òÇå¾²ÏÞÖµ£¬£¬£¬£¬£¬£¬ÏµÍ³»áÁ¬Ã¦·¢³öÔ¤¾¯Ðźţ¬£¬£¬£¬£¬£¬ÌáÐÑÖÎÀí²¿·Ö½ÓÄÉÏìÓ¦²½·¥£¬£¬£¬£¬£¬£¬±ÜÃâÇÅÁºÒò³¬Ôضø±¬·¢Ë𻵻ò¿åËúʹÊ¡£¡£¡£¡£¡£¡£¡£¡£

E. »ùÓÚʵʱ¼à²âµÄºÉÔØÊý¾Ý£¬£¬£¬£¬£¬£¬Ð­ÖúÖÎÀí²¿·ÖÖÆ¶©Ô½·¢¾«×¼µÄÑø»¤Î¬ÐÞÍýÏë¡£¡£¡£¡£¡£¡£¡£¡£ÀýÈ磬£¬£¬£¬£¬£¬¹ØÓÚ¾­³£ÔâÊÜÖØÔØµÄÇÅÁº²¿·Ö£¬£¬£¬£¬£¬£¬¿ÉÒÔÔöÇ¿¼ì²éºÍά»¤Á¦¶È£»£»£»£»£»¶ø¹ØÓÚºÉÔØ½ÏСµÄ²¿·Ö£¬£¬£¬£¬£¬£¬Ôò¿ÉÒÔÊʵ±ïÔÌ­¼ì²éƵ´Î£¬£¬£¬£¬£¬£¬´Ó¶øÌá¸ßÑø»¤Î¬ÐÞµÄЧÂʺÍÕë¶ÔÐÔ¡£¡£¡£¡£¡£¡£¡£¡£


3. ÏµÍ³Ö¸±ê˵Ã÷

3.1. ÏµÍ³ÐÔÄÜÖ¸±ê

   ÇÅÁº¶¯Ì¬Ôغɼà²âϵͳָ±ê°Ý¼ûÏÂ±í£º

       B2 

 


3.2. Ê¯Ó¢´«¸ÐÆ÷ÐÔÄÜÖ¸±ê


ͼƬ5 

ʯӢ³ÆÖØ´«¸ÐÆ÷ʾÒâͼ



      ʯӢ³ÆÖØ´«¸ÐÆ÷ÐÔÄÜÖ¸±ê±í£º

        B3 



3.3. ³ÆÖØ´¦Öóͷ£Æ÷ÐÔÄÜÖ¸±ê

³ÆÖØÏÔʾÆ÷ÐÔÄÜÖ¸±ê°Ý¼ûÏÂ±í£º

B5


Ì«Ñô³É¼¯ÍÅ61999(Öйú)¡¤ÓÐÏÞ¹«Ë¾-¹ÙÍø Ì«Ñô³É¼¯ÍÅ61999(Öйú)¡¤ÓÐÏÞ¹«Ë¾-¹ÙÍø
ЧÀÍÈÈÏߣº400-777-0394
×ÉѯÈÈÏߣº0371-86549399
ÏîĿǢ̸£º13253539313(·Ç³ÏÎðÈÅ)
ÁªÏµQQ£º2323401271
µØµã£ººÓÄÏʡ֣ÖÝÊиßÐÂÇø½ðÕµ½Ö16ºÅÒÚ´ï¿Æ¼¼Ð³Ç16ºÅÂ¥
Ô¥ICP±¸2022014334ºÅ-1
¡¾ÍøÕ¾µØÍ¼¡¿¡¾sitemap¡¿